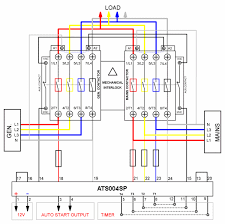
Automatic Transfer Switch Wiring Diagram Free : Automatic Transfer Switch Ats Between Two Low Voltage Utility Supplies : A wiring diagram is a simplified traditional pictorial depiction of an electrical circuit.. In this video, i have explained about the fully automatic transfer switch (ats) for single phase system.a transfer switch (ats) is an electrical switch that. Home generator series 50 amp automatic transfer switch. Parts list for the above automatic transfer switch or ats circuit. It reveals the components of the circuit as simplified forms, and also the power and signal links between the gadgets. .how the automatic transfer switch is wired to the existing breaker panel.

If you have any other questions, feel free to ask. A wiring diagram is a simplified traditional pictorial depiction of an electrical circuit. Transfer switch equipment provides a means to quickly and safely transfer the critical load circuits please need manual wiring diagram for ats switching by using contractors and phase failed relay. Variety of 200 amp automatic transfer switch wiring diagram. Parts list for the above automatic transfer switch or ats circuit.

Diagram Volume Control Wiring Diagram Tritton Full Version Hd Quality Diagram Tritton Biltekdiagram Gyn Patho De
Diagram Volume Control Wiring Diagram Tritton Full Version Hd Quality Diagram Tritton Biltekdiagram Gyn Patho De from wholefoodsonabudget.com
Automatic transfer switch using pic microcontrolle.automatic transfer switch for generator?circuit diagram programming code of automatic transfer switch. Can i change the voltage sensing. An automatic transfer switch (ats) for a single phase power generator has been designed to enable the automatic operation and transfer of power supply between a public utility supply and a power generator. Generac automatic transfer switch explained, demo подробнее. A wide variety of wiring transfer switch options are available to you, such as function, poles number, and transmission rate. In this project, i will discuss digital automatic transfer switch and give you brief idea about its circuit diagram and programming. A transfer switch is an electrical switch that switches a load between two sources. Looking for transfer switch drawings?

Looking for transfer switch drawings?

The following article explains an enhanced automatic transfer switch (ats) circuit, which includes several customized sequential changeover relay stages making the system truly smart! Home » wiring diagram » rv automatic transfer switch wiring diagram. Rack automatic transfer switches including the following models only as the rack automatic transfer switches are complicated and involved products, we have provided some common scenarios and questions along with recommendations and general information on functionality. Parts list for the above automatic transfer switch or ats circuit. ··· hot sale factory promotion price generator automatic switch wiring diagram italy vinyl heat transfer film it l finished products exhibition packaging & shipping contact us. 3 power sources automatic transfer switch controller. It reveals the components of the circuit as simplified forms, and also the power and signal links between the gadgets. Home generator series 50 amp automatic transfer switch. Wiring diagram for the mts (manual transfer switch). Submit detailed maintenance manuals and drawings, which include wiring diagrams, dimensions, front and side views, and catalog information indicating. Flux free type s : A wide variety of wiring transfer switch options are available to you, such as function, poles number, and transmission rate. .how the automatic transfer switch is wired to the existing breaker panel.

Generac automatic transfer switch explained, demo подробнее. Not many people do things like this for free. Automatic transfer switch not intended for use in critical life support applications. Related content for ge 50 amp automatic transfer switch. In this video, i have explained about the fully automatic transfer switch (ats) for single phase system.

Wiring Riddle No 3 Auto Transfer Switching Control Diagram Automatic Transfer Switch At Transfer Switch Electrical Circuit Diagram Generator Transfer Switch
Wiring Riddle No 3 Auto Transfer Switching Control Diagram Automatic Transfer Switch At Transfer Switch Electrical Circuit Diagram Generator Transfer Switch from i.pinimg.com
Flux free type s : Can i change the voltage sensing. Not many people do things like this for free. In this video, i have explained about the fully automatic transfer switch (ats) for single phase system.a transfer switch (ats) is an electrical switch that. The upper portion of the changeover switch is directly connected to the main. Ø open transition automatic transfer switch. My question is only about the wiring of the transfer switch to the breaker panel. Submit detailed maintenance manuals and drawings, which include wiring diagrams, dimensions, front and side views, and catalog information indicating.

Automatic transfer switch from jundi electrical industry (teco) is designed to provide unmatched performance, reliability and versatility for critical standby power applications.

Related content for ge 50 amp automatic transfer switch. 3 power sources automatic transfer switch controller. The upper portion of the changeover switch is directly connected to the main. Can i change the voltage sensing. Manual and automatic changeover / transfer switch wiring & connection. ··· hot sale factory promotion price generator automatic switch wiring diagram italy vinyl heat transfer film it l finished products exhibition packaging & shipping contact us. Automatic transfer switch using pic microcontrolle.automatic transfer switch for generator?circuit diagram programming code of automatic transfer switch. A wiring diagram is a simplified traditional pictorial depiction of an electrical circuit. A wide variety of wiring transfer switch options are available to you, such as function, poles number, and transmission rate. All of us have experienced the loss of electricity from time to time. In this video, i have explained about the fully automatic transfer switch (ats) for single phase system.a transfer switch (ats) is an electrical switch that. How to wire star delta starter with three phase ac motors? An automatic transfer switch (ats) for a single phase power generator has been designed to enable the automatic operation and transfer of power supply between a public utility supply and a power generator.

Home generator series 50 amp automatic transfer switch. Manual transfer switch (mts) wiring connection most requested by our followers sa video po na ito ituturo ko po. Some transfer switches are manual, in that an operator effects the transfer by throwing a switch, while others are automatic and trigger when they sense one of the sources has lost or gained power. Wiring diagram for the mts (manual transfer switch). Flux free type s :

Automatic Transfer Switch Changeover Type From 250a To 2500a Pdf Free Download
Automatic Transfer Switch Changeover Type From 250a To 2500a Pdf Free Download from docplayer.net
A wiring diagram is a simplified traditional pictorial depiction of an electrical circuit. It reveals the components of the circuit as simplified forms, and also the power and signal links between the gadgets. Automatic generator changeover switch (with schematic). Automatic transfer switch using pic microcontrolle.automatic transfer switch for generator?circuit diagram programming code of automatic transfer switch. The automatic transfer switch does not change its position even if both networks are available. Savesave automatic transfer switch wiring diagra.atic. 2 technical information standard ats diagrams purpose. A transfer switch is an electrical switch that switches a load between two sources.

Manual transfer switch (mts) wiring connection most requested by our followers sa video po na ito ituturo ko po.

Parts list for the above automatic transfer switch or ats circuit. A transfer switch is an electrical switch that switches a load between two sources. Wiring diagram for the mts (manual transfer switch). Ø open transition automatic transfer switch. The white wires are wire nutted together so they can continue the circuit. A wide variety of wiring transfer switch options are available to you, such as function, poles number, and transmission rate. Automatic transfer switch using pic microcontrolle.automatic transfer switch for generator?circuit diagram programming code of automatic transfer switch. Automatic generator changeover switch (with schematic). Automatic transfer switch from jundi electrical industry (teco) is designed to provide unmatched performance, reliability and versatility for critical standby power applications. How to wire star delta starter with three phase ac motors? 3 power sources automatic transfer switch controller. Home generator series 50 amp automatic transfer switch. Related content for ge 50 amp automatic transfer switch.

By